Skip to content
Back Box Fix
Home
About
Product Images
Contact
Buy Now
Product Images
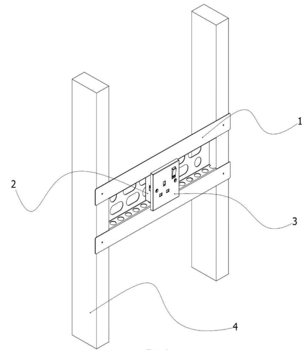
The Back Box Fix at different stages of construction.
Share this:
Share on X (Opens in new window)
X
Share on Facebook (Opens in new window)
Facebook
Like
Loading…
Close
Previous
Next
Loading Comments...
Write a Comment...
Email (Required)
Name (Required)
Website
Back Box Fix
Sign up
Log in
Copy shortlink
Report this content
Manage subscriptions
%d